© 2008-2012 SeekIC.com Corp.All Rights Reserved.
Published:2009/7/16 3:59:00 Author:Jessie | From:SeekIC



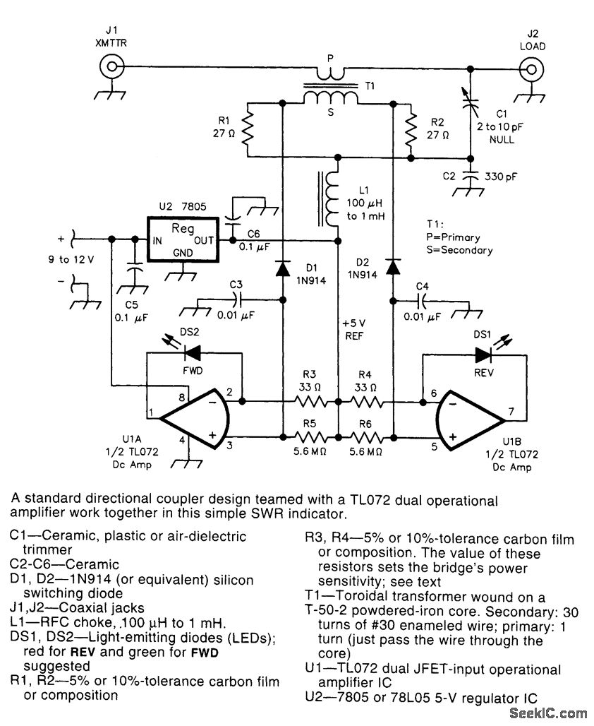
D1 and D2 act as half-wave diode detectors for the forward and reverse voltages. In traditional SWR-meter circuits, the output of these detectors feeds a panel meter via a forward/reflected switch and a scaling resistor, which typically provides the detector diodes with a load on the order of 25 kΩ. This relatively low load impedance limits the diodes' performance at low power levels because it causes their forward voltage drop to be higher than the sampled RF voltages to be detected. To use LEDs (DS1 and DS2) as indicators, some sort of dc amplifier was needed. Operational amplifiers were used because their high input impedance lets us load the diodes so lightly that their detection range can extend down to about 50 mV. U1A and U1B, halves of a TL072 dual JFET-input op amp, do the dc amplification. The dc voltage developed by each detector is presented to its op amp across a 5.6-MΩ resistor. Each op amp operates at a voltage gain of 1 (unity), but provides enough current gain to drive an LED and to cause a matching voltage to appear across R3. To provide each half of U1 with split (positive and negative) power supplies in environments in which only single-polarity, negative-ground supplies are typical, it was necessary to provide an artificial ground. U2 provides a stiffly regulated dc voltage between ground and the positive supply. (Note that the bridge circuit's dc reference is also set to +5V because the RE-grounded end of L1, which is connected to dc ground in traditional directional-watt meter circuits, is also connected to the +5-V supply provided by U2.) The overall sensitivity of the circuit can be adjusted to match the power level expected by changing the values of R3 and R4 to drive the LEDs with an appropriate current level. If you use different LEDs or want to use the bridge at a different power level, you may want to adjust these resistor values ac-cording to the formula R3 and R4 (ohms)=√P0×50/30×If(LED) ,where P0 is the transmitter power in watts, 50 is the system impedance in ohms, 30 is T1's turns ratio, and If(LED) is the current level (in amperes) that produces the LED brightness you need. With the resistor values chosen to light the FED LED (DS2) brightly, the REV LED (DS1) will be easily visible at SWRs around 2:1, allowing no-guess SWR dipping with tuner adjustment.
Reprinted Url Of This Article:
http://www.seekic.com/circuit_diagram/Measuring_and_Test_Circuit/LED_SWR_INDICATOR_CIRCUIT.html
Print this Page | Comments | Reading(3)
Response in 12 hours
© 2008-2012 SeekIC.com Corp.All Rights Reserved.
Code: