Published:2009/7/1 2:24:00 Author:May | From:SeekIC

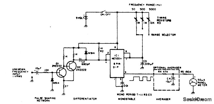
Circuit NotesThe 555 is used in a monostable multivibrator circuit that puts out a fixed timewidth pulse, which is triggered by the unknown input frequency.
Reprinted Url Of This Article:
http://www.seekic.com/circuit_diagram/Measuring_and_Test_Circuit/LINEAR_FREQUENCY_METER(AUDIO_SPECTRUM).html
Print this Page | Comments | Reading(3)
Code: