Published:2009/6/25 20:40:00 Author:May | From:SeekIC

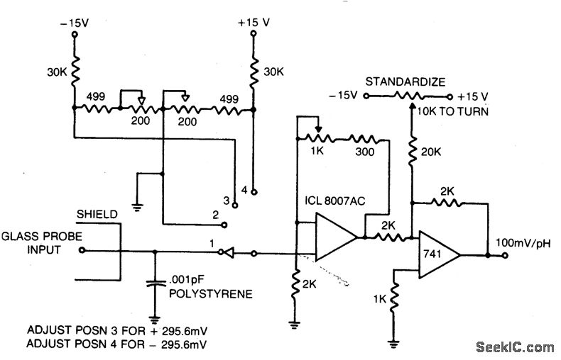
With guaranteed 1 pA input bias, the ICL 8007A is ideal as a pH meter or long term sample and hold.
Reprinted Url Of This Article:
http://www.seekic.com/circuit_diagram/Measuring_and_Test_Circuit/LOW_COST_pH_METER.html
Print this Page | Comments | Reading(3)
Code: