Published:2011/4/26 4:38:00 Author:Ecco | Keyword: Metal detector | From:SeekIC

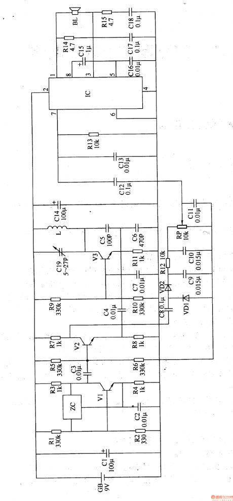
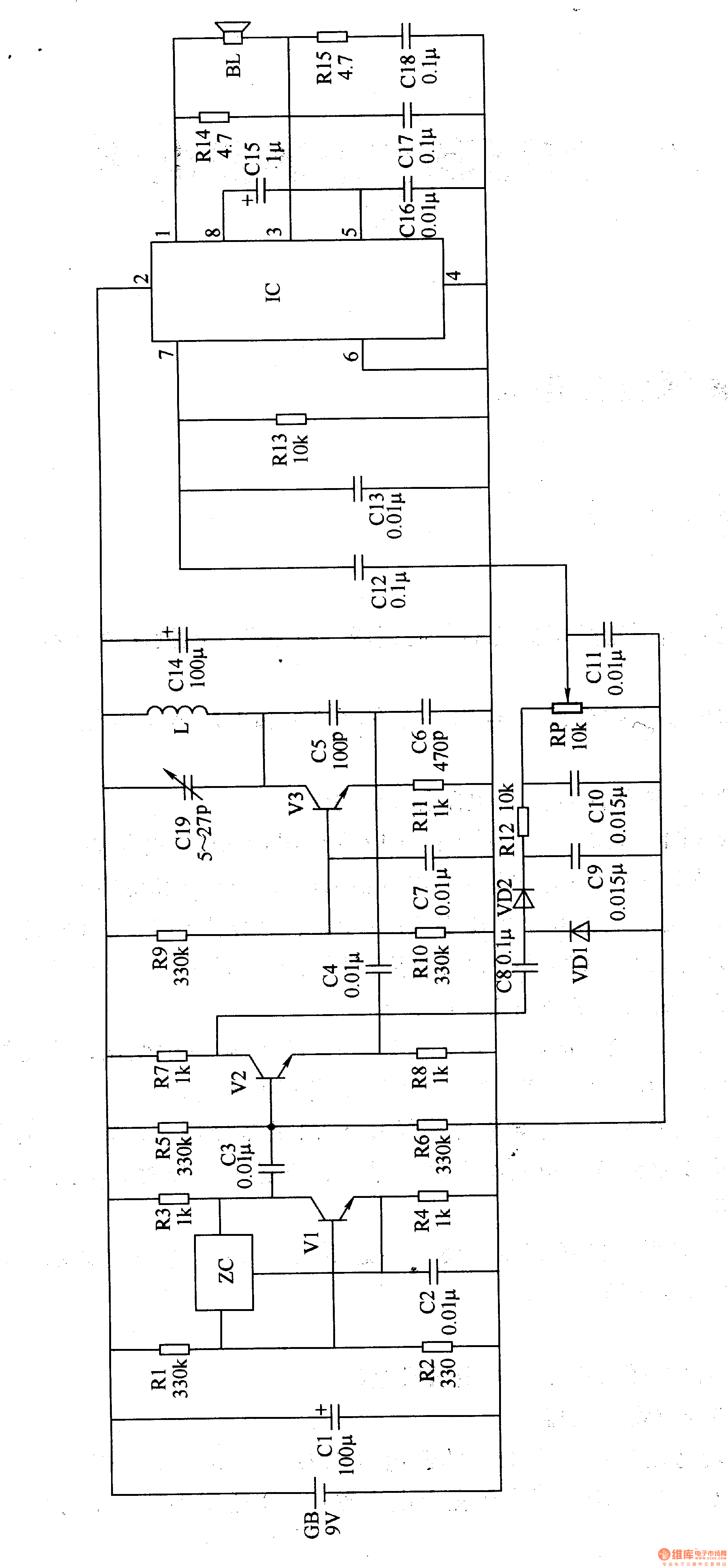
The working principle.The metal detector circuit consists of a fixed frequency oscillator, mixer, detector, detection oscillator and power amplifier circuit, it is shown as Figure 8-67.
Fixed frequency oscillator circuit consists of ceramic filters ZC, transistors Vl and resistors Rl-R4, capacitors C2 and so on. Mixer consists of the mixer tube V2 and capacitor C3, resistors R5-R8. The detector is composed of diodes VDl, VD2, capacitors C8-Cl2 and resistors Rl2, potentiometer RP and other components. Detected oscillator is composed of transistor V3, inductance coil L, capacitors C4-C7, Clg, and resistors R9-Rll. The audio amplifier is composed of power amplifier integrated circuit IC, resistors R13-Rl5, capacitors C13-C18 and speaker BL.
RI-Rl5 use 1/4W carbon film resistors or metal film resistors. Cl and C14, Cl5 select electrolytic capacitors with voltage in 16V; C2-C4, C7-C13 and C16 C18 select monolithic capacitors; C5 and C6 select high-frequency ceramic capacitors; Cl9 uses small polyester film or mica trimmer capacitors. VDl and VD2 select 2AP9 common type germanium diode. Vl-V3 uses S9018 or BM94 silicon NPN transistor. IC uses TDA2822 audio power amplifier integrated circuit.
Reprinted Url Of This Article:
http://www.seekic.com/circuit_diagram/Measuring_and_Test_Circuit/METAL_DETECTOR_1.html
Print this Page | Comments | Reading(3)
Code: