Published:2009/7/20 21:29:00 Author:Jessie | From:SeekIC

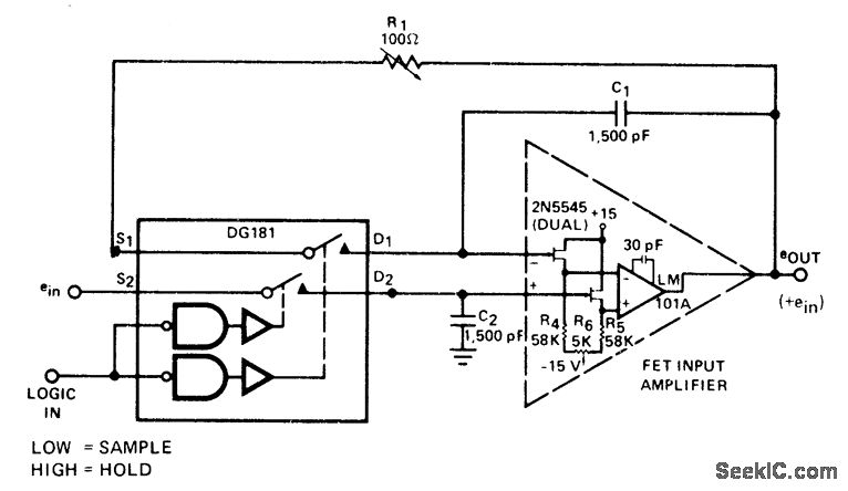
DG181 JFET analog switch provides best combination of settling speed and inherent charge transfer accuracy for 2N5545 FET-input opamp for high-speed sample-and-hold applications.- Analog Switches and Their Applications, Siliconix, Santa Clara, CA, 1976, p 7-60.
Reprinted Url Of This Article:
http://www.seekic.com/circuit_diagram/Measuring_and_Test_Circuit/NONINVERTING_SAMPLE_AND_HOLD_1.html
Print this Page | Comments | Reading(3)
Code: