Published:2009/7/15 3:01:00 Author:Jessie | From:SeekIC

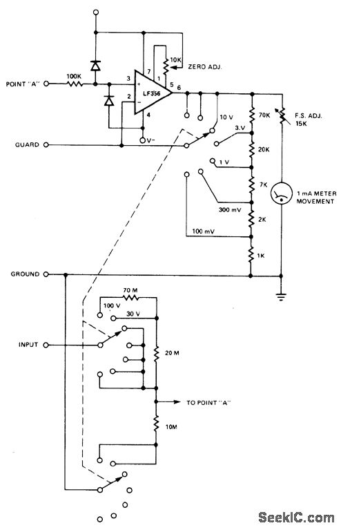
Uses LF356 opamp in noninverting connection to give high input impedance along with diode protection against input overvoltage. On 100-V range, input impedance is 100 megohms. - Signetics, Analog Data Manual, Signetics, Sunnyvale, CA, 1977, p 640-641.
Reprinted Url Of This Article:
http://www.seekic.com/circuit_diagram/Measuring_and_Test_Circuit/OPAMP_DC_VOLTMETER.html
Print this Page | Comments | Reading(3)
Code: