Published:2009/7/10 4:17:00 Author:May | From:SeekIC

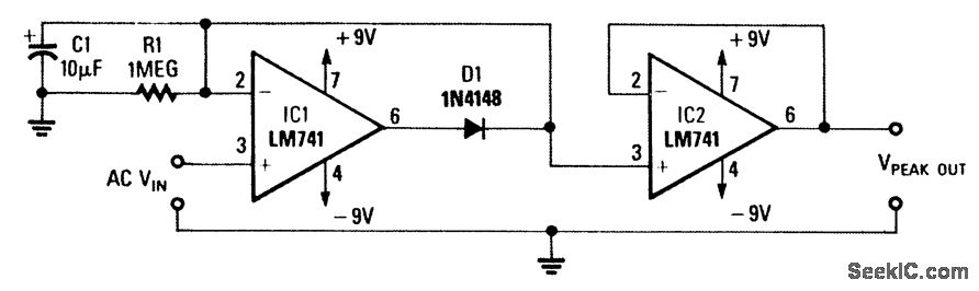
The output ofthis circuit will be a voltage that is equal to the peak of the input. D1 and C1 detect thepeak voltage and this is read by the IC2 voltage follower.
Reprinted Url Of This Article:
http://www.seekic.com/circuit_diagram/Measuring_and_Test_Circuit/OP_AMP_PEAK_DETECTOR.html
Print this Page | Comments | Reading(3)
Code: