Published:2009/7/9 2:15:00 Author:May | From:SeekIC


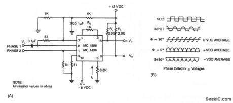
The output of the detector contains a term related to the cosine of the phase angle. Two signals of equal frequency are applied to the inputs. The frequencies are multiplied together, producing the sum and difference frequencies. Equal frequencies cause the difference component to become dc, while the undesired sum component is ftltered out. The dc component is related to the phase angle by the graph of Fig.70-2B. At 90°, the cosine becomes zero, while being at maximum positive or maximum negative at 0°and 180°, respectively. The advantage of using the balanced modulator over other types of phase comparators is the excellent conversion linearity. This configuration also provides a conversion gain, rather than a loss for greater resolution. Used in conjunction with a phase-locked loop, for instance, the balanced modulator provides a very low-distortion FM demodulator.
Correct phase sequences (ABC, BCA, or CAB) produce trains of output pulses and illuminate the LED. The output stays low and the LED remains dark for incorrect sequences (BAC, ACB, or CBA) or for phase loss (phase A, B, or C missing).
Reprinted Url Of This Article:
http://www.seekic.com/circuit_diagram/Measuring_and_Test_Circuit/PHASE_DETECTOR.html
Print this Page | Comments | Reading(3)
Code: