Published:2009/6/25 20:56:00 Author:May | From:SeekIC

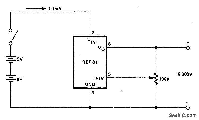
An external power supply that gives a voltage higher than the highest expected rating of the zener diodes to be tested is required.Potentiometer RV1 is adjusted until the meter reading stabilizes. This reading is the zener diode's breakdown voltage.
Reprinted Url Of This Article:
http://www.seekic.com/circuit_diagram/Measuring_and_Test_Circuit/PRECISION_CALIBRATION_STANDARD.html
Print this Page | Comments | Reading(3)
Code: