Published:2009/7/6 3:23:00 Author:May | From:SeekIC

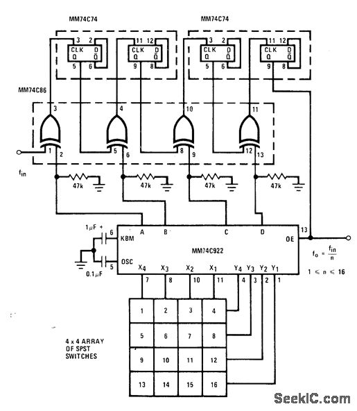
Input frequency can be divided by any number between 1 and 16 by pressing appropriate key on keyboard connected to National MM74C922 16-key encoder. Output frequency is symmetrical for odd and even divisors. Can be used for simple frequency synthesis or as keyboard-controlled CRO trigger. Operates over standard CMOS supply range of 3-15 V. Typical upperfrequency limit is 1 MHzwith 10-V supply. Circuit uses two MM74C74 dual D flip-flops and MM74C86 EX-CLUSIVE-OR package.- CMOS Databook, National Semiconductor, Santa Clara, CA, 1977, p 5-50-5-51.
Reprinted Url Of This Article:
http://www.seekic.com/circuit_diagram/Measuring_and_Test_Circuit/PROGRAMMABLE_COUNTER.html
Print this Page | Comments | Reading(3)
Code: