About SeekIC | Services | Payment | Advertisements service | Contact Us | Links
© 2008-2012 SeekIC.com Corp.All Rights Reserved.
Published:2009/7/11 0:56:00 Author:May | From:SeekIC


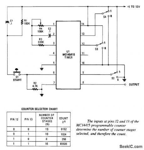
By using an RC oscillator and a programmable divider, this counter can run for hours. An interval oscillator runs at a frequency given by (see figure schematic):By using, for example, R4 = 390 kΩ and C2 = 10 μF and Rz, the oscillator can run at 0.1 Hz. Divided by 65536, this is a cycle of approximately 655 000 s (182 hours, slightly more than a week).
Reprinted Url Of This Article:
http://www.seekic.com/circuit_diagram/Measuring_and_Test_Circuit/PROGRAMMABLE_TIMER_FOR_LONG_INTERVALS.html
Print this Page | Comments | Reading(3)
Response in 12 hours
© 2008-2012 SeekIC.com Corp.All Rights Reserved.
Code: