Published:2009/6/24 21:41:00 Author:May | From:SeekIC

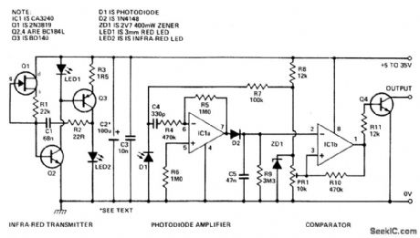
This circuit provides a means of detecting the presence of anything by the reflection of infra-red light and provides a direct digital output of object detection. By the use of modulation and high power bursts of infra-red at a very low duty cycle, a detection range of over a foot is achieved. Works on the principle of transmitting a beam of modulated infra-red light from the emitter diode LED2, and receiving reflections from objects passing in front of the beam with a photodiode detector D1. The circuit consists o f an infra-red transmitter, photodiode amplifier, and a variable threshold comparator.
Reprinted Url Of This Article:
http://www.seekic.com/circuit_diagram/Measuring_and_Test_Circuit/Proximity_Detector.html
Print this Page | Comments | Reading(3)
Code: