Published:2009/7/6 1:54:00 Author:May | From:SeekIC

Circuit Notes
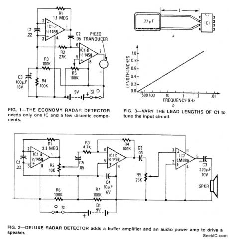
The circuit can be tuned to respond to signals between 50 MHz and 500 GHz. The economy model is shown in Fig. 1, and the deluxe model is shown in Fig. 2. The ftrst op amp in each circuit functions as a culrent-to-voltage converter. In the economy model IC1b buffers the output to drive the piezo buzzer. The deluxe model functions in a similar manner except that IC1b is configured as a x20 buffer amplifier to drive the LM386. In both circuits C1 functions as a transmission line that intercepts the incident radar signal. The response may be optimized by trimming C1's lead length for the desired frequency. Typically the capacitor's leads should be 0.5-0.6 inches long.
Reprinted Url Of This Article:
http://www.seekic.com/circuit_diagram/Measuring_and_Test_Circuit/RADAR_SIGNAL_DETECTOR.html
Print this Page | Comments | Reading(3)
Code: