Published:2009/7/1 2:50:00 Author:May | From:SeekIC




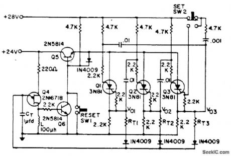
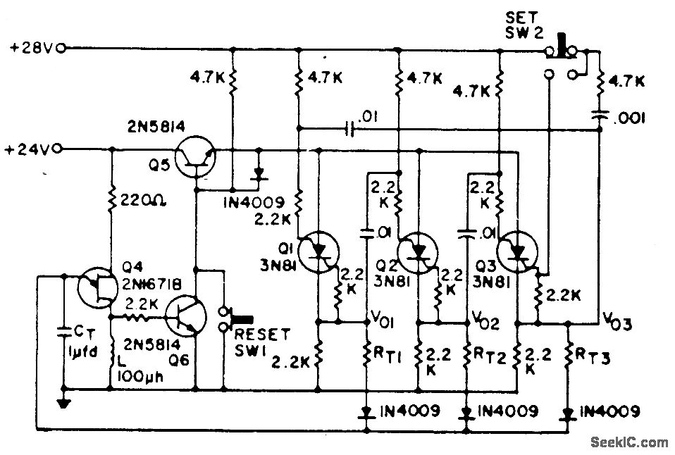
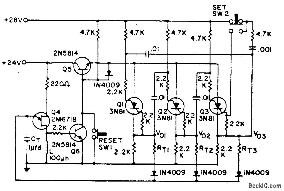
Shift pulses are generated by the unijunction transistors. The intervals between pulses are controlled by CT and RT. A different RTcan be selected for each stage of the counter as shown.
Reprinted Url Of This Article:
http://www.seekic.com/circuit_diagram/Measuring_and_Test_Circuit/RING_COUNTER_WITH_VARIABLE_TIMING.html
Print this Page | Comments | Reading(3)
Code: