Published:2009/7/16 5:36:00 Author:Jessie | From:SeekIC

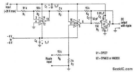
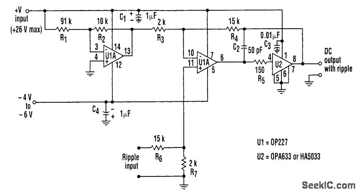
When a device under test needs a dc voltage applied with ripple superimposed, this circuit can handle the task. The power supply for the +V input will need to be set about 20 percent higher than the desired output. The supply should be well regulated, because it directly affects the output volt-age. A function generator set to the desired waveform, amplitude, and frequency must be connected to the ripple input. Because of resistor tolerances, the final voltage adjustments will have to be made by monitoring the output. U2 will drive capacitive loads as long as the dc + peak ac doesn't exceed 200 mA. The frequency response of the ripple adder with a 5-V p-p output ranges from dc to past 100 kHz. R5 and C3 should be located as close as possible to U2. R1 can be altered to change the ratio between the input and output voltages.
Reprinted Url Of This Article:
http://www.seekic.com/circuit_diagram/Measuring_and_Test_Circuit/RIPPLE_ADDER.html
Print this Page | Comments | Reading(3)
Code: