Published:2009/6/17 4:10:00 Author:May | From:SeekIC

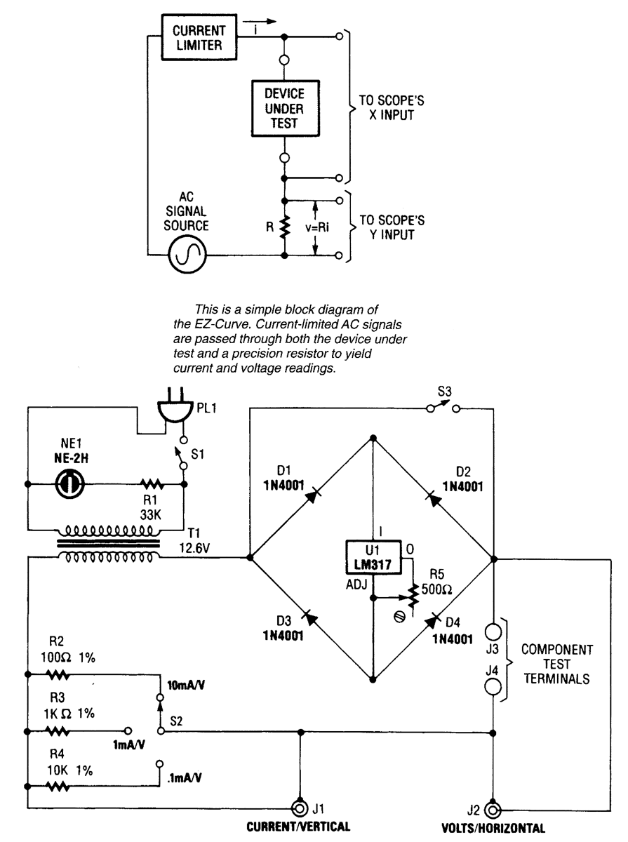
Useful for checking diodes, transistors, triacs, SCRs, resistors, and LEDs, this curve tracer should prove useful in the experimenter's lab. It displays the volt-ampere characteristic of a two-ter-minal device on an oscilloscope.
Reprinted Url Of This Article:
http://www.seekic.com/circuit_diagram/Measuring_and_Test_Circuit/SIMPLE_CURVE_TRACER.html
Print this Page | Comments | Reading(3)
Code: