Published:2009/7/10 23:33:00 Author:May | From:SeekIC

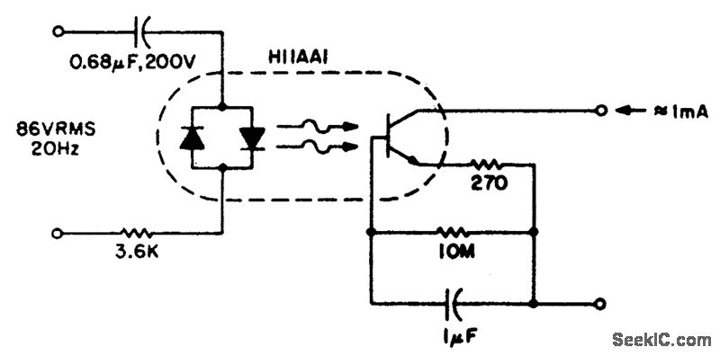
This circuit detects the 20-Hz approximately 86-Vrms ring signal on telephone lines and initiates action in an electrically isolated circuit. Typical applications include automatic answering equipment, interconnect/interface and key systems. The detector is the simplest and provides about a 1-mA signal for a 7-mA line, which loads for 0.1 s after the start of the ring signal. The time-delay capacitor provides a degree of dial-tap and click suppression, and filters out the zero crossing of the 20-Hz wave.
Reprinted Url Of This Article:
http://www.seekic.com/circuit_diagram/Measuring_and_Test_Circuit/SIMPLE_RING_DETECTOR.html
Print this Page | Comments | Reading(3)
Code: