Published:2009/6/17 22:19:00 Author:May | From:SeekIC

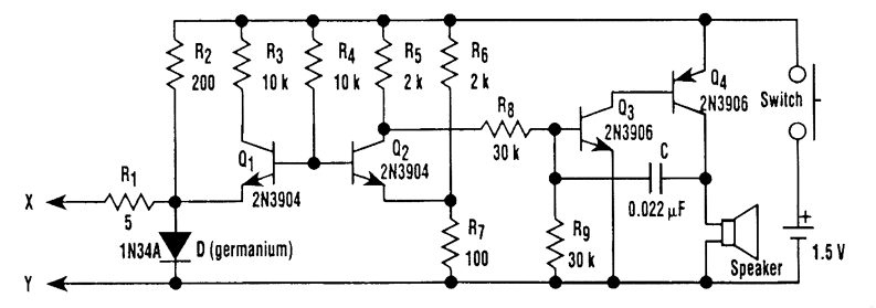
Transistors Q1 and Q2, together with resistors RI through R7, make up the input balancing stage, which senses the resistance between points X and Y. The input stage is essentially a bridge, consisting of RI, R2, R6, R7, and the resistance between points X and Y.Transistors Q3 and Q4 and their associated passive components form a buzzer, which sounds when the tester detects a short. The buzzer is controlled by the output from Q2. When the input re-sistance is high (more than about 10Ω), Q2 turns on, so its collector potential is close to ground, and the buzzer remains off. When the input resistance is sufficiently low, Q2 turns off, and the buzzer sounds. The frequency of the sound, which is about 1000 Hz, can be adjusted by varying the value of capacitor (C).
Reprinted Url Of This Article:
http://www.seekic.com/circuit_diagram/Measuring_and_Test_Circuit/SIMPLE_SHORT_FINDER.html
Print this Page | Comments | Reading(3)
Code: