Published:2009/7/14 19:43:00 Author:May | From:SeekIC

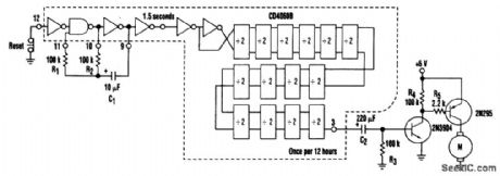
This circuit is straightforward. An RC oscillator consisting of R1, R2, and C1, with the internal gates on the CD4060, generates a 1.5-second clock that is subsequently divided to a 12-h clock at the output. Other times are available for output or for AND-ing with the longer-duration signals. The output is capacitively coupled to the two-transistor driver to provide a several-second pulse every 12 hours.
Reprinted Url Of This Article:
http://www.seekic.com/circuit_diagram/Measuring_and_Test_Circuit/SIMPLE_VERY_LONG_PERIOD_TIMER.html
Print this Page | Comments | Reading(3)
Code: