Published:2009/7/5 22:31:00 Author:May | From:SeekIC

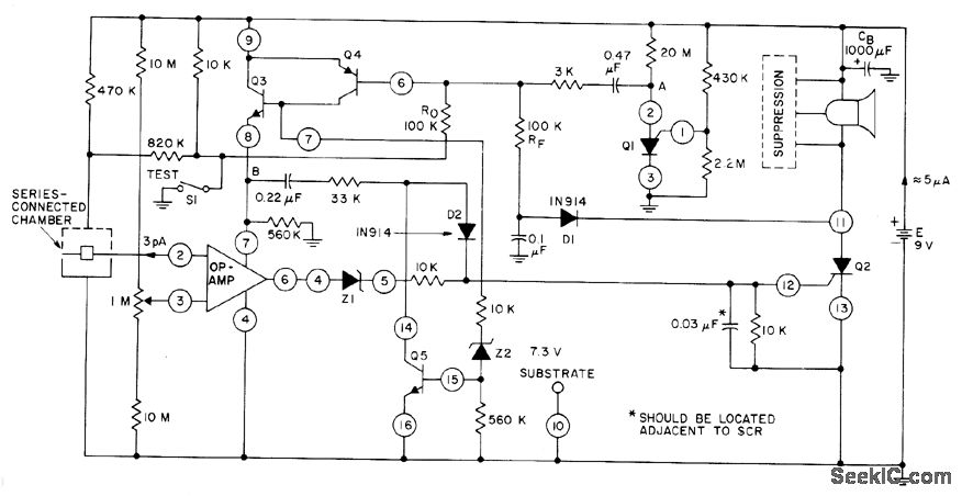
Battery-operated ionization-type srnoke detector uses RCA CA3130 opamp as interface for ionization chamber that provides picoampere currents. With opamp in pulsed mode (on for 20 ms of 20-s period), IC draws only 0.6 μA average instead of 600 μA.Other active components and zener, all on RCA CA3097 array, provide Low-battery monltor and horn-driver functions. When chamber detects smoke, combination of RF and D1 provides sufficient base current to keep Q3 and Q4 on.Opamp is then powered continuously, and steering diode Z1 supplies continuous current to gate of Q2 for energizing hom. Battery drain is only 5 mA in monitoring mode.-G. J. Granieri, Bipolar-MOS and Bipolar IC's Buildlng Blocks for Smoke-Detector Circuits, IEEE Transactions on Consumer Electronics, Nov. 1977, p 522-527.
Reprinted Url Of This Article:
http://www.seekic.com/circuit_diagram/Measuring_and_Test_Circuit/SMOKE_DETECTOR.html
Print this Page | Comments | Reading(3)
Code: