Published:2009/7/7 7:15:00 Author:May | From:SeekIC

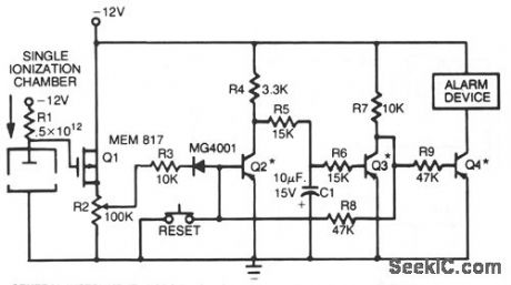
This smoke detector uses a MEM 817 p-channel enhancement mode MOSFET as its buffer amplifier. Operation of the sensor is based on a decrease in the current when smoke enters the chamber, thereby causing a negative voltage excursion at the gate of the buffer MOSFET. Quiescent voltage values at the output of the chamber vary from about -4 V to -6 V, and detection of smoke will result in an excursion of about -4 V. The MOSFET is connected as a source follower.
Reprinted Url Of This Article:
http://www.seekic.com/circuit_diagram/Measuring_and_Test_Circuit/SMOKE_DETECTOR_1.html
Print this Page | Comments | Reading(3)
Code: