Published:2009/7/12 21:56:00 Author:May | From:SeekIC

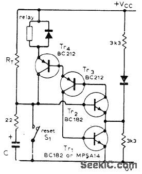
Circuit has good immunity to impulse noise because normal state of all transistors is on. This eliminates spurious timing cycles that sometimes occur in IC timers. At switch-on, C begins charging until its voltage makes Tr2 start conducting; this in turn makes other three transistors switch on. Regeneration action then discharges C to about 0.6 V. Timer is started either by applying VCC or opening S1. Timing period depends on value of VCC.-J. L. Linsley Hood, One-Shot Timer Circuit, Wireless World, Nov. 1975, p 520.
Reprinted Url Of This Article:
http://www.seekic.com/circuit_diagram/Measuring_and_Test_Circuit/STABLE_FOUR_TRANSISTOR_TIMER.html
Print this Page | Comments | Reading(3)
Code: