Published:2009/7/8 4:52:00 Author:May | From:SeekIC

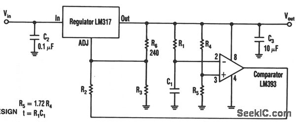
The timed two-voltage circuit can start and run a small dc motoror solenoid.The input voltage to the LM317 three-terminal regulator ranges from 5 to 40 V, and the output voltage can range from 2 to 36 V With input voltage VIN initially applied to the input,and capacitor C1 in a discharged state,the LM393 comparator's open-collector output circuit is open-circuited,Then the higher start-up output voltage is:
VOUT=1.25[1+(R3/240)]
At a time t after start-up,when:
t=-R1C1Ln[R4/(R4+R5)]or:
t=-R1C1,if R5=1.72R4
the comparator output decreases.At that time,the output voltage switches to a lower value to run thedevice at its proper operating level.
Reprinted Url Of This Article:
http://www.seekic.com/circuit_diagram/Measuring_and_Test_Circuit/START_AND_RUN_MOTOR_CIRCUIT.html
Print this Page | Comments | Reading(3)
Code: