Published:2009/7/15 4:10:00 Author:Jessie | From:SeekIC

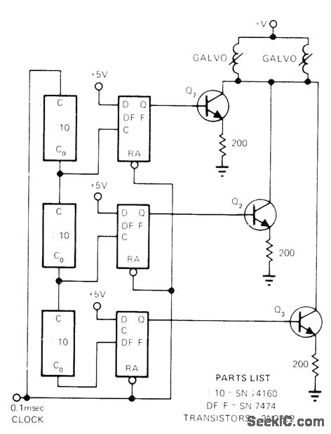
Drives two galvanometers for generating three decades of timing marks in identical patterns on edges of chart. 10-ms marks are twice as long as 1-ms marks, and 100-ms marks are 3 times length of 1-ms marks. By placing ruler across equivalent marks on edges, exact time for any point on recorded pattern is easily and accurately deter-mined.-S. Rummel, TTL Circuit Aids Evaluation of Oscillograph Data, EDN Magazine, Dec. 5, 1973, p 86.
Reprinted Url Of This Article:
http://www.seekic.com/circuit_diagram/Measuring_and_Test_Circuit/STRIP_CHART_TIMING_MARKS.html
Print this Page | Comments | Reading(3)
Code: