Published:2009/7/20 20:16:00 Author:Jessie | From:SeekIC

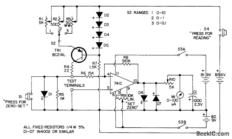
Solid-state design measures resistance values accurately down to less than 0.001 ohm. Full-scale values for ranges are 10, 1, and 0.1 ohms.-Circuits, 73 Magazine, July 1974, p 80.
Reprinted Url Of This Article:
http://www.seekic.com/circuit_diagram/Measuring_and_Test_Circuit/THREE_RANGE_MILLIOHMM_ETER.html
Print this Page | Comments | Reading(3)
Code: