Published:2009/7/20 1:57:00 Author:Jessie | From:SeekIC

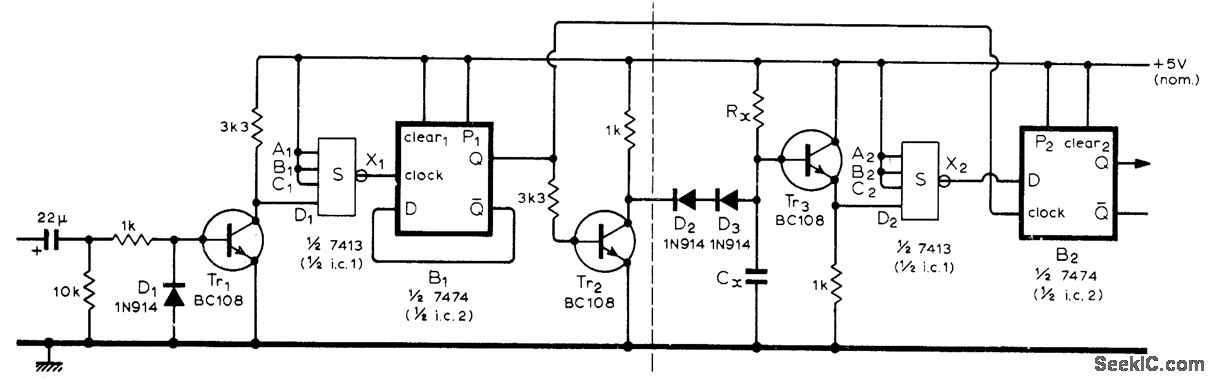
Replaces resonant reeds commonly used in multichannel radio-con-trolled models to detect modulation frequency being transmitted. Use of IC logic has advantage that range of audio frequencies can exceed an octave, whereas reeds cannot because they respond to second harmonic. Decoder has digital high-pass characteristic that is passed through inverter to give digital low-pass characteristic. Values of RX, and CX determine critical frequency; for 900 Hz, use 150,000 ohms and 0.015 μF. To obtain n nonoverlapping bandpass characteristics, n - 1 basic elements with different critical frequencies are required; components to left of dashed line may be common to all these elements. Article covers multichannel systems in detail, along with use of time-division multiplexing.-C. Attenborough, Radio Control Tone Decoder, Wireless World, Dec.1973, p 593-594.
Reprinted Url Of This Article:
http://www.seekic.com/circuit_diagram/Measuring_and_Test_Circuit/TONE_DECODER.html
Print this Page | Comments | Reading(3)
Code: