Published:2009/6/25 20:45:00 Author:May | From:SeekIC

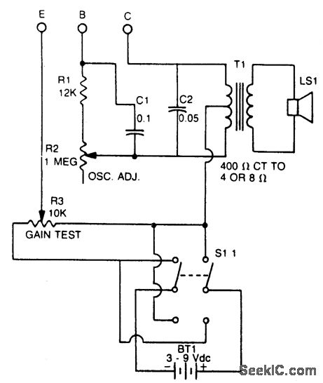
This tester checks transistor for polarity (PNP or NPN). An audible signal will give an indication of gain. Tester can also be used as a GO/NO GO tester to match unmarked devices.
Reprinted Url Of This Article:
http://www.seekic.com/circuit_diagram/Measuring_and_Test_Circuit/TRANSISTOR_SORTER/TESTER.html
Print this Page | Comments | Reading(3)
Code: