Published:2009/7/11 5:14:00 Author:May | From:SeekIC

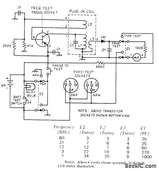
Determlnes maxlmum frequency at which unknown transistor will still maintain reasonable current gain, and tells whethertransistor is NPN or PNP. Based on fact that emitter-base junction of transistor is equivalent to crystal diode, conducting in one direction only. Direction depends on transistor type. Setting of S2 which gives meter reading identifies transistor type. Frequency-limit circuit is self-excited oscillator in which frequency de. pends on plug-in coil. If meter reads when 60MHz coil is used, transistor is capable of handling 60 MHz; if no reading, change to lower-frequency coils one by one until reading is obtained. To check battery, press S4; lamp should have full brilliance. CR1 is 1N34A.-H. Hanson, How High Will It Go?, QST, April 1974, p 32-33 and 39.
Reprinted Url Of This Article:
http://www.seekic.com/circuit_diagram/Measuring_and_Test_Circuit/TRANSISTOR_TESTER_1.html
Print this Page | Comments | Reading(3)
Code: