Published:2009/7/1 3:41:00 Author:May | From:SeekIC


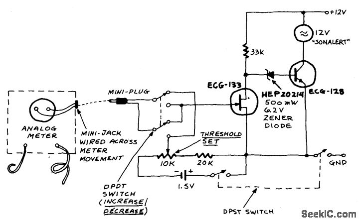
The Trouble Tone Alert is intended for use with analog meters-just wire a mini earphone jack directly across the meter movement, plug it in, and you're all set. This device reacts the to the meter-movement driving voltage. It will respond to a change in ac or dc voltage, current, or in resistance. The circuit will respond to an increase or decrease selected by the DPDT switch and is adjusted with the threshold control until the tone from the Sonalert just disappears (with the meter in the circuit being tested, of course).
Reprinted Url Of This Article:
http://www.seekic.com/circuit_diagram/Measuring_and_Test_Circuit/TROUBLE_TONE_ALERT.html
Print this Page | Comments | Reading(3)
Code: