Published:2009/7/8 21:21:00 Author:May | From:SeekIC

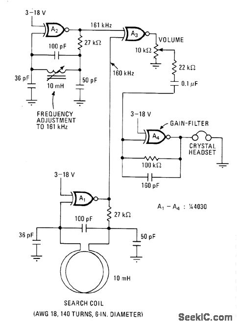
Metal object near search coil changes frequency of oscillator A1 which is initially tuned to 160 kHz,thereby changing frequency of 1-kHz output derived by mixing with 161-kHz output of A2. Sensitivity, determined largely by dimensions of search coil, is sufficient to detect coins about 1 foot away.-M. E. Anglin, C-MOS Twin Oscillator Forms Micropower Metal Detector, Electronics, Dec. 22, 1977, p 78.
Reprinted Url Of This Article:
http://www.seekic.com/circuit_diagram/Measuring_and_Test_Circuit/TWIN_OSCILLATOR_METAL_DETECTOR.html
Print this Page | Comments | Reading(3)
Code: