© 2008-2012 SeekIC.com Corp.All Rights Reserved.
Published:2011/7/20 23:57:00 Author:Borg | Keyword: alarm circuit | From:SeekIC

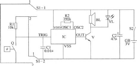
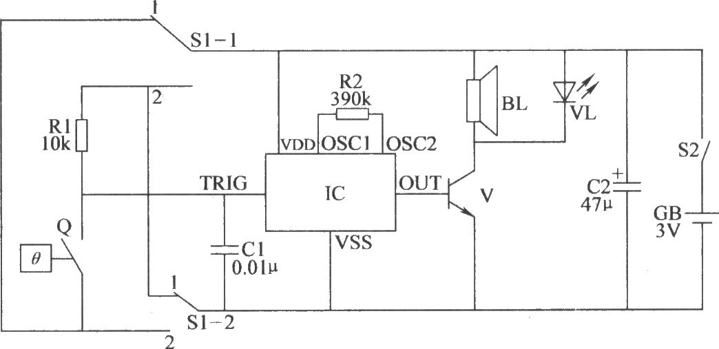
Here is to introduce the temperature detection alarm circuit, which is made of the heat temperature and audio integrated circuit, it characterizes simple and practical circuit, it can not only be used as the over-temperature alarm, but also be the low-temperature alarm.The temperature detection alarm circuit consists of the temperature detection control circuit and acousto-optical alarm circuit, see as the figure.
Reprinted Url Of This Article:
http://www.seekic.com/circuit_diagram/Measuring_and_Test_Circuit/The_temperature_detection_alarm_circuit.html
Print this Page | Comments | Reading(3)
Response in 12 hours
© 2008-2012 SeekIC.com Corp.All Rights Reserved.
Code: