Published:2009/7/16 21:53:00 Author:Jessie | From:SeekIC

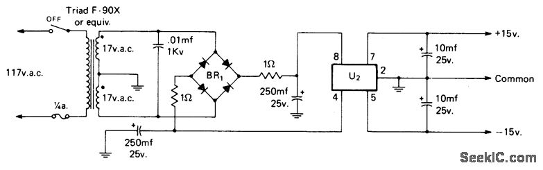
Developed for use in two-tone AF generator for testing SSB equipment. BR1 is Motorola HEP176 or MDA-920. U2 is Raytheon 4195DN.-H. Olson, A One-Chip, Two Tone Generator, CQ, April 1974, p 48-49.
Reprinted Url Of This Article:
http://www.seekic.com/circuit_diagram/Power_Supply_Circuit/±15_V_1.html
Print this Page | Comments | Reading(3)
Code: