Published:2009/6/26 5:04:00 Author:May | From:SeekIC

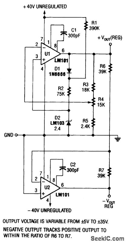
This supply is designed to operate from a ±40V nominal unregulated power source (bridge rectifier, etc.).
Reprinted Url Of This Article:
http://www.seekic.com/circuit_diagram/Power_Supply_Circuit/±5_TO±35_V_TRACKING_POWER_SUPPLY.html
Print this Page | Comments | Reading(3)
Code: