Published:2009/6/24 1:42:00 Author:May | From:SeekIC

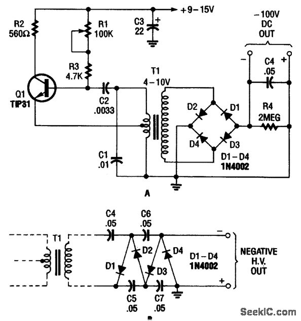
The combination Hartley oscillator/step-up transformer shown in A can generate significant negative high-voltage-especially if the voltage output of the transformer is multiplied by the circuit in Fig.69-5B. T1 is a small low-voltage filament transformer of around 4- to 10-Vac output, 120-V primary.
Reprinted Url Of This Article:
http://www.seekic.com/circuit_diagram/Power_Supply_Circuit/-100_Vdc_SUPPLY.html
Print this Page | Comments | Reading(3)
Code: