Published:2009/7/19 20:45:00 Author:Jessie | From:SeekIC

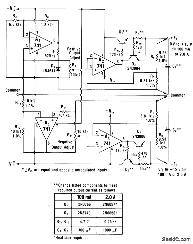
Common zener reference selrves for both regulators. Buffer A3 uses negative reference voltage developed from 6.6-V positive voltage across D1 by inverter A4. Both regulators provide 100mA or 2 A depending on transistors used.-W. G.Jung, IC Op-Amp Cookbook, Howard W. Sams, Indianapolis, IN, 1974, p t62-164.
Reprinted Url Of This Article:
http://www.seekic.com/circuit_diagram/Power_Supply_Circuit/0_T0_±15V_INDEPENDENTLY_VARIABLE.html
Print this Page | Comments | Reading(3)
Code: