Published:2009/7/19 21:09:00 Author:Jessie | From:SeekIC

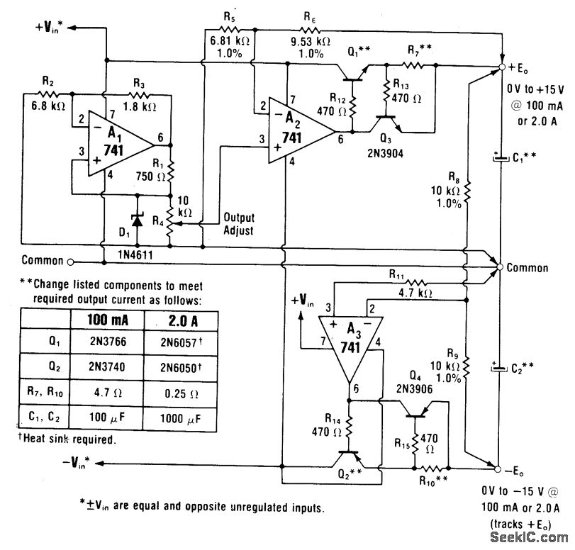
Basic tracking regulator is combined with transistors to extend output to voltages higher than zener reference and provide higher output currents. Choice of transistors for Q1 and Q2 determines maximum load current.-W. G. Jung, IC Op-Amp Cookbook, Howard W. Sams, indi-anapolis, IN, 1974, p 161-163.
Reprinted Url Of This Article:
http://www.seekic.com/circuit_diagram/Power_Supply_Circuit/0_TO_±15V_TRACKING_AT_100mA_OR_2A.html
Print this Page | Comments | Reading(3)
Code: