Published:2009/6/26 3:55:00 Author:May | From:SeekIC

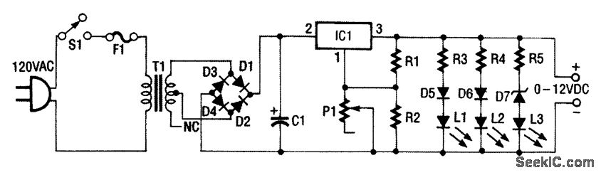
This 0- to 12-Vdc variable power supply uses an IC voltage regulator and a heavy-duty trans-former to provide a reliable dc power supply. Looking at the schematic shown, you can see that transformer T1 has a 120-V primary and a 28-V secondary.
Filtered dc is fed to the input (pin 2) ofthe LM317T voltage regulator, IC, which keeps the volt-age at its output constant (pin 3) regardless (within limitations) of the input voltage. Pin 1 of the LM317T is the adjustment pin. Varying the voltage on pin 1 (via P1) varies the output voltage.
Diodes D5 through D7 and LEDs L1 through L3 give an approximate indication of the output voltage. Each LED/diode path has a limiting resistor to limit the current to a level that is safe for the LED.
Reprinted Url Of This Article:
http://www.seekic.com/circuit_diagram/Power_Supply_Circuit/0_TO_12_V,_1_A_VARIABLE_POWER_SUPPLY.html
Print this Page | Comments | Reading(3)
Code: