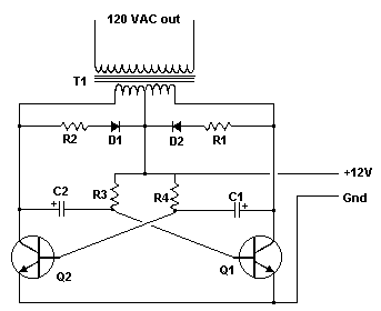
Published:2012/12/11 0:36:00 Author:muriel | Keyword: 12V to 120V, Inverter | From:SeekIC

Reprinted Url Of This Article:
http://www.seekic.com/circuit_diagram/Power_Supply_Circuit/12V_to_120V_Inverter.html
Print this Page | Comments | Reading(3)
Code: