Published:2009/7/17 5:43:00 Author:Jessie | From:SeekIC

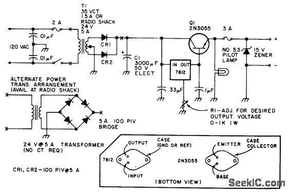
Basic circuit for operating mobile equipment off AC line uses IC voltage regulator in conjunction with series-pass transistor.-Circuits, 73 Magazine, Holiday issue 1976, p 170.
Reprinted Url Of This Article:
http://www.seekic.com/circuit_diagram/Power_Supply_Circuit/12_14_V_AT_3_A.html
Print this Page | Comments | Reading(3)
Code: