Published:2009/7/2 5:27:00 Author:May | From:SeekIC

Reprinted Url Of This Article:
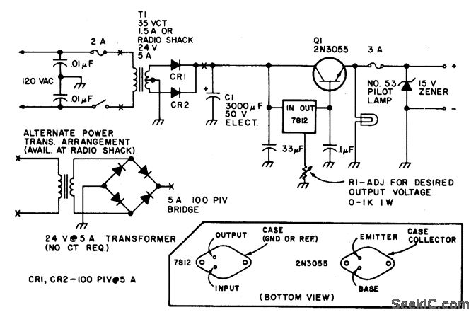
http://www.seekic.com/circuit_diagram/Power_Supply_Circuit/12_14_V_REGULATED_3_A_POWER_SUPPLY.html
Print this Page | Comments | Reading(3)
Code: