Published:2009/7/17 2:21:00 Author:Jessie | From:SeekIC

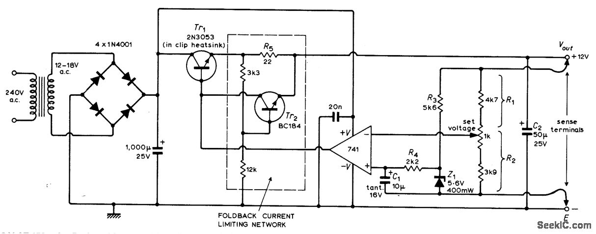
Designed for use with audio preamρs, FM tuners, and stereo decoders for which minimum ripple, minimum noise, good regulation, and good temperature stability are important. Uses 5.6-V reference zener that is fed from output but is inside feedback loop. Un-regulated input can be up to 36 V.-M. L. Old-field, Regulated Power Supplies, Wireless World, Nov. 1972, p 520-521.
Reprinted Url Of This Article:
http://www.seekic.com/circuit_diagram/Power_Supply_Circuit/12_V_AT_150_mA.html
Print this Page | Comments | Reading(3)
Code: