Published:2009/6/23 4:37:00 Author:Jessie | From:SeekIC

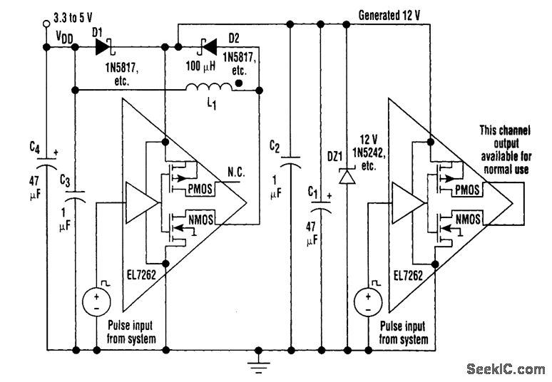
When driving a power MOSFET from a 5-V or 3.3-V system, a significant number of components usually are needed to generate an extra +12 V.It's possible, however, to apply the second channel in a typical dual MOSFET driver to derive a +12-V power supply. By using a driver with the drains brought to separated pins, you can connect an inductor between the n-channel drain and the logic supply without connecting the p-channel device.The driver operates as a standard flyback-style switched-mode circuit (see the figure). When the output n-channel device is on, current starts flowing in the inductor, which stores energy. When the n-channel device is turned off, current must continue flowing. Therefore, it flows through diode D2 to charge up C1 and C2. As the cycle repeats, the C1 and C2 voltage rises until the Zener diode prevents further voltage rise. This is needed to prevent the driver's derived supply from exceeding the part's maximum voltage rating.
Reprinted Url Of This Article:
http://www.seekic.com/circuit_diagram/Power_Supply_Circuit/12_V_SUPPLY.html
Print this Page | Comments | Reading(3)
Code: