Published:2009/7/23 23:44:00 Author:Jessie | From:SeekIC

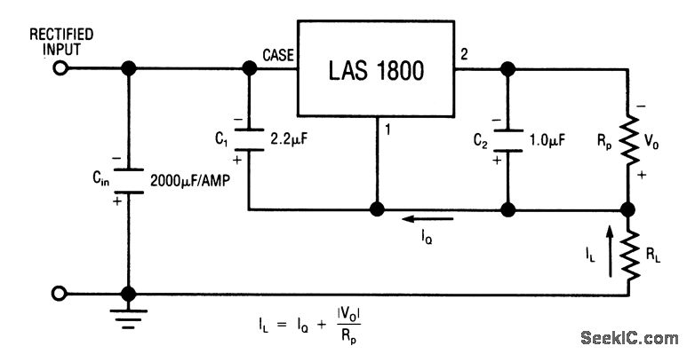
This circuit uses the LAS1800 series voltage regulator (Fig. 7-42A) as a fixed-current regulator. Characteristics are shown in Fig. 7-42B, 7-42C, and 7-42D.
Reprinted Url Of This Article:
http://www.seekic.com/circuit_diagram/Power_Supply_Circuit/15_A_negative_fixed_current_regulator.html
Print this Page | Comments | Reading(3)
Code: