Published:2009/7/20 5:55:00 Author:Jessie | From:SeekIC

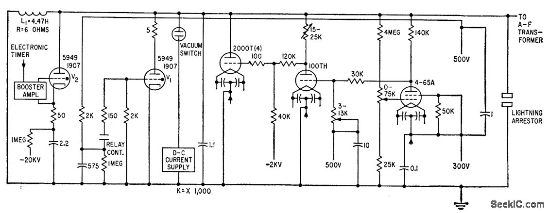
Consists of shunt-regulated electronically switched inductive energy storage system in which coil L1 is charged through vacuum switch. When high voltage is needed, V2 is fired to deionize V1. Cathode capacitor of V2 is then charged to 20,000 V by coil current, at which time electronic feedback regulator in shunt with L1 draws current to maintain constant output voltage.-R. L. Gamblin, Ohmic Heating Circuits for Plasma Physics, Electronics, 32:41, p 57-59.
Reprinted Url Of This Article:
http://www.seekic.com/circuit_diagram/Power_Supply_Circuit/20000_V_INDUCTIVE_STORAGE_SUPPLY.html
Print this Page | Comments | Reading(3)
Code: