Published:2009/7/16 21:05:00 Author:Jessie | From:SeekIC

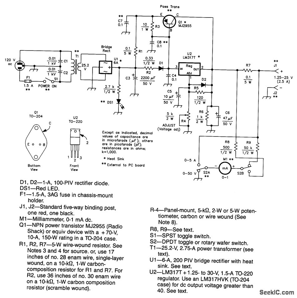
This power supply uses an LM317J adjustable regulator and an MJ2955 pass transistor, Q1 and U2 as well as U1 should be heatsinked. A suitable heatsink would typically be 4 x4 x 1 fins, extruded type, because up to 65 W dissipation can occur. R8 and R9 should be 1% types or selected from 5% film types with an accurate ohmmeter. Capacitors are disc ceramic except for those with polarity marked, which are electrolytic.
Reprinted Url Of This Article:
http://www.seekic.com/circuit_diagram/Power_Supply_Circuit/25_A_125_to_25_V_REGULATED_POWER_SUPPLY.html
Print this Page | Comments | Reading(3)
Code: