Published:2009/7/16 23:04:00 Author:Jessie | From:SeekIC

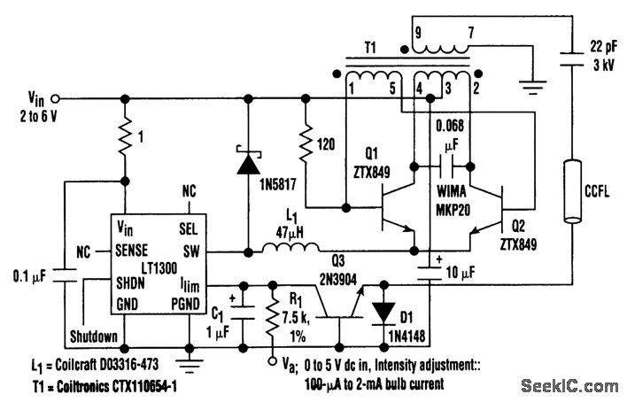
The power supply shown operates from 2 to 6 V. It can drive a small (75-mm) CCFL over a 100-μA to 2-mA range. An LT1301 micropower dc-to-dc converter is used in conjunction with a current-driven Royer-class converter, consisting of T1, Q1, and Q2. When power is applied along with intensity-adjust voltage Va, the LT1301's Ilim pin is driven slightly positive, causing maximum switching current through the IC's internal switch pin (SW). L1 conducts current that flows from transformer T1's center tap, through the transistors, into L1. L1's current is taken in switched fashion to ground by the regulator's action. The Royer converter oscillates at a frequency primarily set by T1's characteristics (including its load) and the 0.068-μF capacitor. LT1301 drives L1, which sets the magnitude of the Q1-Q2 tail current, and thus creates T1's drive level. The 1N5817 diode maintains L1's current flow when the LT1301's switch is off. The 0.068-μF capacitor combines with L1's characteristics to produce sine-wave voltage drive at the Q1 and Q2 collectors. T1 provides voltage step-up and about 1400 V p-p appears at the transformer's secondary.
Reprinted Url Of This Article:
http://www.seekic.com/circuit_diagram/Power_Supply_Circuit/2_TO_6_V_CCFL_POWER_SUPPLY.html
Print this Page | Comments | Reading(3)
Code: