Published:2009/7/20 4:23:00 Author:Jessie | From:SeekIC

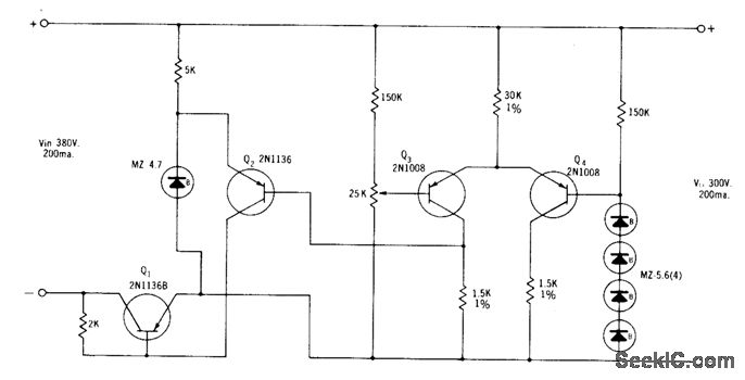
Transistor Q1 serves as series element in negative lead of high-voltage regulated supply, dissipating less than 16 w. Zener Diode Handbook, International Rectifier Corp., 1960, p 58.
Reprinted Url Of This Article:
http://www.seekic.com/circuit_diagram/Power_Supply_Circuit/300_V_200_MA_REGULATOR.html
Print this Page | Comments | Reading(3)
Code: