Published:2009/7/25 1:31:00 Author:Jessie | From:SeekIC

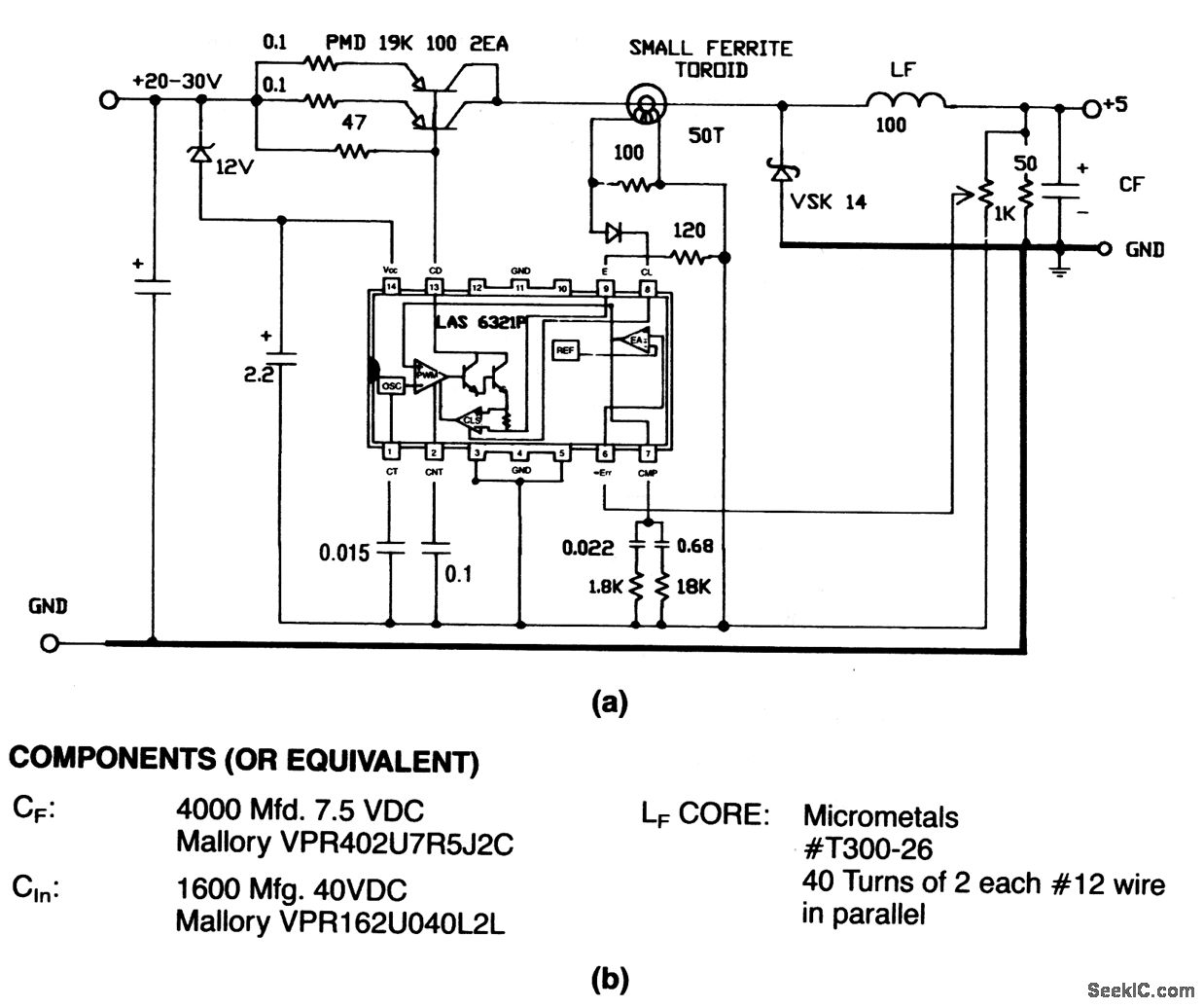
This circuit provides an adjustable output voltage. Figure 4-24B shows component source information.
Reprinted Url Of This Article:
http://www.seekic.com/circuit_diagram/Power_Supply_Circuit/30__to_5_V_at_20_A_converter.html
Print this Page | Comments | Reading(3)
Code: