Published:2009/7/24 3:54:00 Author:Jessie | From:SeekIC

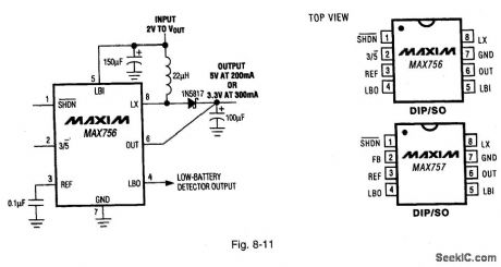
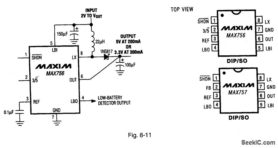
Figure 8-11 shows a MAX756 connected to provide a 5-V output at 200 mA or 3.3 V at 300 mA(depending on the status of 3/5 pm 2)with an input from 1.1 V to 5.5 V Quiescent current is 60 μA with a 20-μA shutdown current, and an efficiency of 87% (at 200 mA).MAXIM NEW RELEASES DATA Book 1994. P. 4-173.
Reprinted Url Of This Article:
http://www.seekic.com/circuit_diagram/Power_Supply_Circuit/33_V_5_V_5_V_step_up_converter.html
Print this Page | Comments | Reading(3)
Code: