Published:2009/7/16 21:12:00 Author:Jessie | From:SeekIC

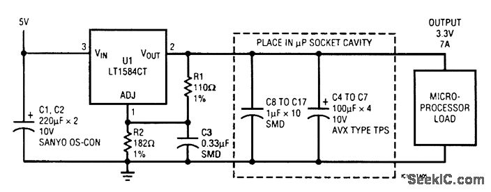
Many microprocessor systems use 3.3-V microprocessors, cache RAM, and chip sets. This system configuration increases the current requirements of the 3.3-V supply. In addition, many of these microprocessors have a stop-clock feature for power savings, which introduces a load-current step to the power supply. Adjustable regulators are recommended for microprocessors that have power-saving (stop-clock) modes. The circuit shown has good transient response to load steps for most 3.3-V microprocessors. An external capacitor at the ADJUST pin can reduce the total filter capacitance required by one half to take care of large load transients.
Reprinted Url Of This Article:
http://www.seekic.com/circuit_diagram/Power_Supply_Circuit/33_V_7_A_SUPPLY.html
Print this Page | Comments | Reading(3)
Code: